Jual tda1517P TDA1517 P 2 x 6 W stereo power am...
Audio Stereo Amplifier 6+6Watt TDA1517 SIL9 Phi...
TDA1517 amplifier circuit - Tube_Amplifier - Au...
TDA1517 2x6 Watt Stereo Power Amplifier BY PHIL...
Tda1517 схема усилителя стерео
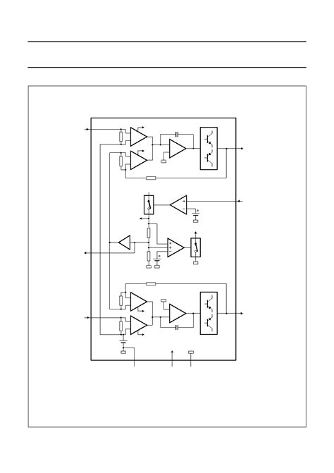
TDA1517P datasheet(3/12 Pages) PHILIPS | 2 x 6 ...
TDA1517 2 x 6 W stereo power amplifier circuit ...
TDA1517 or TPA1517 stereo audio amplifier chip ...
NXP tda1517 Stereo Power Amplifier IC sot-110, ...
Stereo AF Amplifier Using TDA1517 | Full Electr...
A full-fledged stereo power amplifier with the ...
TDA1517 TDA1517P audio amplifier IC DIP18 – Ink...
TDA1517 TDA1517P DIP18 IC Ampli 2×6W Hi-fi ster...
TDA1517 6W x 2 Power Amplifier IC - YouTube
TDA1517/N3,112 - Nxp - Audio Power Amplifier, 6...
TDA1517P amplifier | TDA 1517 stereo AMP | Home...
[SGeC] TDA1517 Stereo Power Amplifier 2 x 6W - ...
TDA 1517 stereo amplifier 6W - Kit-Amp
TDA1517 2 x 6W Stereo Power Amplifier - Datasheet
Tda1517 Tda 1517 2 X 6 W Stereo Power Amplifier...
1PCS TDA1517 Encapsulation:ZIP-9,2 x 6 W stereo...
10pcs TDA1517 2x6W Stereo Power Amplifier Phili...
Stereo amplifier circuit using TDA1517
2 x 6 W stereo power amplifier|NXP
IC TDA1517 TDA 1517 2x6W Stereo Power Amplifier...
TDA1517 STEREO POWER AMPLIFIER GENUINE PHILLIPS...
TDA1517 IC Audio Power Amplifier – KP Component...
TDA1517P Datasheet PDF - 2 x 6W, Stereo Power A...