5344-1130544-11 Датчик частоты вращения двигате...
Датчик частоты вращения двигателя HOLDER S990 1...
Как проверить датчик частоты вращения двигателя...
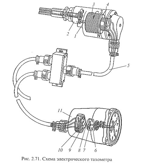
Схема датчика частоты вращения двигателя
Датчики частоты вращения
Датчик скорости вращения двигателя, цифровой по...
Контрольно-измерительные приборы. Автоматизация...
Датчик скорости вращения двигателя - купить в м...
Датчик частоты вращения двигателя Форд Фокус 2 ...
Где находится датчик оборотов двигателя ~ autot...
J5T23071 Датчик положения/частоты вращения вала...
Датчик числа оборотов двигателя: Где находится ...
Датчик частоты вращения двигателя FAW J5-100% f...
Датчик частоты вращения и его роль в управлении...
Датчик частоты вращения коленчатого вала: Датчи...
Датчики частоты вращения двигателя
Audi A8 | Датчик частоты вращения двигателя | А...
Датчик частоты вращения вала двигателя — снятие...
Датчик Частоты Вращения Б.у Двигателя Рено Мега...
Оптический датчик скорости вращения двигателя -...
Купить RE519144 Датчик частоты вращения двигате...
Где находится датчик числа оборотов двигателя -...
Датчик вращения двигателя эскалатора траволатор...
Что такое датчик частоты вращения? как устроен,...
650.1130544 Датчик частоты вращения двигателя Я...
Датчик частоты вращения – Датчики частоты враще...
Датчик частоты вращения двигателя 5344.1130544-...
Датчики двигателя: где находятся и для чего нужны
MSP6719 Датчик частоты вращения двигателя Генер...