LSC Smart Led Strip · Issue #661 · ct-Open-Sour...
Detailed guide on how to flash the new Tuya Bek...
W3S-1939 TE Connectivity Deutsch Connectors | C...
WBC3SLASHR-3S4 datasheet(4/6 Pages) FERROXCUBE ...
BHT-002 with TUYA WB3S Module · Issue #241 · kl...
[Solved] Flashing Tuya WB3S in Window Controlle...
RCS-WB3SR
#WBSDubai to Create Global Business Opportuniti...
Programming and Replacing WB3S with CB3S on Tuy...
Wbs-Bilder: Stock-Fotos & -Videos. | Adobe Stock
wb_3_ (@wb_3_) • Threads, Say more
Figure 1 from Unexpectedly hard and highly stab...
wb3 1 10 2015 7 00 08 PM - YouTube
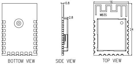
WB3S Module Datasheet-Tuya Developer
ElectricBrain - Arlec ALD1056HA
Light strip came with a wb3s tuya chip (not com...
WB3S replacement for Home Automation devices – ...
WB3S - LibreTiny
WBGS-3 - HSV Klima
WB3 - grünwert
SR-WB3 - Produkte - TOA Electronics
WB3S Module Datasheet-Tuya Developer Platform-T...
WB3 - Photo
bw 3s - YouTube
WB3S(82yd) | TUYA | WiFi Modules | JLCPCB
WB Iii | PDF