Philips 572A
Eaton EEA-PAM-571-A-32 Power Amplifier Endstufe...
ЭП1М-672 — Фото — RailGallery
Применение микросхемы 572ПВ2 -> ILC7107
572па1а схема включения - 83 фото
572a91 | PDF
Пушка. #572 - YouTube
ALFA 572ПA1А - 572PA1A
ПМ5-720Э - CALAMEO Downloader
Микросхемы 572ПВ4 Ау - Куплю - Форум по радиоэл...
Original 45W Toshiba PA5177U-1ACA PA5177E-1AC3 ...
2.6. Микросхема пзу Intel 2716 (573рф2, 573рф5)
Datasheet for NEC PA572W - Sharp NEC Display So...
ЭП1М-532; ЭП1М-672 — Фото — RailGallery
PA527_03.jpg
PA527_02.jpg
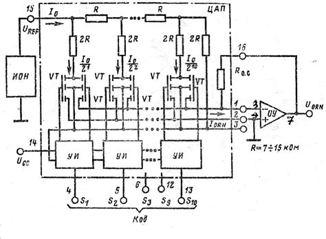
КР572ПА1 - Схемотехника для начинающих - Форум ...
Model 571a
Микросхемы ацп к572пв1 и кр572пв1
Скупка радиодеталей содержащие драгметаллы, цен...
PHILIPS 571A 572A TUNING CORD SCH Service Manua...
ЭП1М-571 — Фото — RailGallery
NEW VICKERS EEA-PAM-571-A-12 AMPLIFIER CARD EEA...
Pa На Гк71 Лаповка - instructionauthority
Компания Электроника и связь - электронные комп...