Теория Большого Взрыва: загадки и подробности -...
Монтировка телескопа | это... Что такое Монтиро...
👉🏻Обзор монтировки ATZ Альт-азимутальная монтир...
It is the very modern telescope called Equatori...
Выбор первого телескопа: uraniya — LiveJournal
Монтировка телескопа, экваториальная монтировка...
Pin on Механизмы
Экваториальная монтировка. Часть 2. — DRIVE2
Учёные ЕКА выявили проблемы в работе космическо...
Монтировки для телескопа как выбрать - YouTube
Строительство экваториальной монтировки, часть ...
Экваториальная монтировка от телескопа (?) . ку...
Экваториальная монтировка. Часть 1. — DRIVE2
Строение телескопа, рефлектор, рефрактор, зерка...
Простая настройка экваториальной монтировки - Y...
Как настроить экваториальную монтировку телеско...
Как настроить экваториальную монтировку? - YouTube
Монтировки телескопа - Персональный сайт
Телескоп. - ppt download
Планировка и оборудование астрономической площадки
Наведение телескопа на монтировке EQ2 на светил...
Английская монтировка
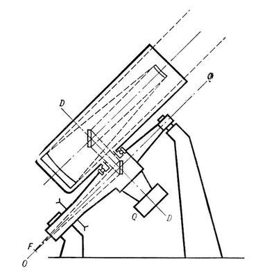
Оси телескопа – Telegraph
Монтировка для телескопа | Азимутальная / Экват...
Как правильно выбрать телескоп для начинающих |...
Экваториальная монтировка своими руками. Do-it-...
Bosma Maca астрономический телескоп+ экваториал...
Какой купить первый телескоп? Рекомендации - Op...