Контактная и бесконтактная система зажигания ВА...
Бесконтактная Система Зажигания БСЗ ВАЗ. Устано...
Как устроена бесконтактная система зажигания? |...
Бесконтактная Система Зажигания Ваз 2101,21011,...
Бесконтактная Система Зажигания на ВАЗ » Класси...
Контактная Система Зажигания — DRIVE2
Как работает бесконтактная система зажигания? -...
Бесконтактная система зажигания — ГАЗ 24, 2,4 л...
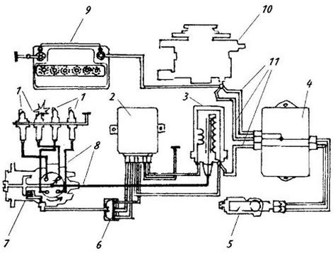
Схема бесконтактной системы зажигания - Всё для...
Бесконтактная система зажигания (БСЗ) – Автонов...
Бесконтактная система зажигания на класику част...
Бесконтактная система зажигания
Свечи зажигания. Контактно-транзисторная систем...
Неисправности бесконтактной системы зажигания
Бесконтактная система зажигания ВАЗ 2101-2107 с...
Бесконтактная система зажигания | АвтоэлектрикА...
Бесконтактные системы зажигания. Ликбез | Elect...
Бесконтактная система зажигания Москвич, Газ, Б...
нет искры ваз бесконтактная система зажигания -...
Система зажигания ВАЗ - YouTube
Системы зажигания. Устройство бесконтактной сис...
О бесконтактной системе зажигания
Бесконтактная система зажигания на ВАЗ 2101 АТ ...
БСЗ(бесконтактная система зажигания Ваз 2106) —...
Бесконтактная Система Зажигания ВАЗ 2101, 2102,...
БСЗ КУПИТЬ ДЕШЕВЛЕ: Бесконтактная система зажиг...
Система Зажигания ВАЗ 01-05 Бесконтактная (комп...
Бесконтактное Зажигание Ваз купить на OZON по н...