Сальниковое уплотнение — виды сальниковой набивки
Назначение устройство и работа самоподжимного с...
Сальник на водоциркуляционный насос 5,5 кВт - с...
Купить сальники насосов БЦН тип1, в комплекте с...
Советы по установке сальника на водяной насос: ...
Как подобрать сальник
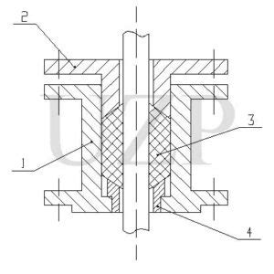
УСТЬЕВОЙ САЛЬНИК
Сальники – виды и применение - ВОЛАТ
Правильный монтаж сальника, его эксплуатация и ...
Что такое сальник — С-Агросервис
Сальник 80-110-10 BAB4SL08 CFW (CZ) 72 NBR 902 ...
Сальник: что это такое, как выглядит сальник и ...
Сальники устьевые сус
Манжета армированная (сальник), 35х58х10, (1,2)...
Купить сальник водяного насоса, цена: Харьков, ...
Сальники: виды, устройство и применение армиров...
Статья. Сальники (манжеты армированные) - Конст...
Сальник 40x55x10 GP SLB109UN | купить по низкой...
Сальник 23х38х7 универсальный армированный 1 шт...
Производство сальников набивных и других заклад...
Сальник: виды, классификация и применение
Устройство сальников водяного насоса
Сальники. Назначение, виды, особенности выбора
Сальниковая арматура
Купить Водяной сальник мотопомпы 50мм/80мм (SL8...
Устьевой сальник
Сальники (Набор) - купить для котлов и водонагр...
Сальники для насоса БЦН Водолей БЦ 1.2-18 У, БЦ...
Что такое сальник – Сальник — Википедия — Сайт ...
Замена сальника на водонасосной станции!!! - Yo...