Схемы распиновки реле на КамАЗ >> Автоликбез | ...
Электронная схема камаза
Термостат КАМАЗ Камминз
Реле регулятор заряду на 24В КраЗ, Камаз ,МАЗ, ...
Ремонт и проверка после ремонта реле КАМАЗ 24 В...
Не работает приборная панель на КамАЗе | Экспер...
Схема подключения реле камаз
Ремонт редуктора КамАЗ
МЕНЯЕМ РЕЛЕ РЕГУЛЯТОР НАПРЯЖЕНИЯ. КАМАЗ. Как по...
Реле Поворотов Камаз Схема Подключения - allege...
Реле стартера камаз 5320 схема подключения (36 ...
Давление масла Камаз камминз. - YouTube
Распиновка реле камаз 65115 - Электротехника и ...
Втягивающее (реле) стартера 4ISBe/6ISBe
Установка реле КамАЗ-65115
Фото газель камминз (46 фото) - фото - картинки...
Регулятор давления воздуха КамАЗ: назначение, р...
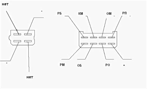
Схема реле камаз 65115
Распиновка реле дворников ВАЗ, Газель, УАЗ, Камаз
Генератор КАМАЗ Камминз
Редуктор КамАЗ
Как отключить регулятор тормозных сил камаз - фото
Реле генератор 28В, ЯМЗ, КАМАЗ
Ремонт регулятора тиску КамАЗ
Реле поворота камаз маз — купить по низкой цене...
Реле Поворотов Камаз Схема Подключения - charit...
Предохранители Камаз 65115 Евро 3/4, схема и оп...
Реле регулятор напряжения КАМАЗ 24В Я120М1 - ар...